Каталог МЦ2С
Мотор-редукторы МЦ2С применяются в качестве приводов: транспортеров, элеваторов, измельчителей, подьемно-транспортного оборудования и других механизмов. Для просмотра подробных характеристики, габаритных чертежей, особенностей эксплуатации, монтажных исполнений, цены, марок подшипников и манжет, массы, фото – переходите к конкретным моделям мотор редукторов 4МЦ2С:
Технические характеристики мотор-редуктора МЦ2С
В таблице указанны основные технические хараектеристики для подбора типоразмера редуктора МЦ2С – количество оборотов на выходном валу, диапазон мощности электродвигателя, номинальный крутящий момент, допустимая нагрузка, масса.
| Мотор-редуктор МЦ2С/4МЦ2С | Диапазон частоты вращения, об/мин | Мощность двигателя, кВт | Крутящий момент, Нм | Радиальная нагрузка, Н | Вес в сборе, кг |
| 63 | 28-180 | 0,55–3,0 | 115–202 | 300 | 20–26 |
| 80 | 0,75–5,5 | 231–371 | 1200 | 36–60 | |
| 100 | 1,5–7,5 | 462–798 | 2400 | 44–71 | |
| 125 | 3,0–18,5 | 928–1464 | 5000 | 72–151 |
Чертеж и размеры мотор редуктора 4МЦ2С
Чертеж с габаритными и присоединительными размерами согласно технического паспорта приведен для простоты подбора и подготовки к монтажу мотор-редуктора серии 4МЦ2С.
| Мотор-редуктор 1МЦ2С | А | А1 | B | H | L | H1 | L1 | L2 | L3 | L4 | h | d | l | b | t |
| не более | |||||||||||||||
| 63 | 110 | 150 | 185 | 288 | 544 | 140 | 160 | 48 | 15 | 65 | 16 | 28 | 60 | 8 | 31 |
| 80 | 115 | 180 | 225 | 333 | 624 | 170 | 175 | 75 | 22 | 82 | 18 | 35 | 80 | 10 | 38 |
| 100 | 130 | 210 | 255 | 400 | 700 | 212 | 195 | 102 | 20 | 120 | 22 | 45 | 110 | 14 | 49 |
| 125 | 160 | 280 | 335 | 530 | 913 | 265 | 235 | 105 | 25 | 120 | 28 | 55 | 110 | 16 | 59 |
Исполнение по типу монтажа
На чертеже все типы монтажных исполнений, определяющие способ крепления мотор-редуктора МЦ2С (лапы или фланец) и расположение его относительно пола (вертикальное или горизонтальное).
Купить мотор-редуктор МЦ2С
Мотор-редукторы МЦ2С до сих пор производятся на территории Украины. В конструкции новых моделей все чаще используется зубчатая передача с зацеплением Новикова.
Системы Качества предлагают купить мотор редукторы МЦ2С, 1МЦ2С, 2МЦ2С, 3МЦ2С, 4МЦ2С, 5МЦ2С, 6МЦ2С с электромоторами производства Китая, Украины с электромагнитным тормозом или без.
В таблице указаны цены редукторов МЦ2С без двигателя на 22.03.2024. Конечная стоимость 4МЦ2С с двигателем будет зависеть от мощности и страны производителя асинхронного электродвигателя.
| Редукторная часть | Цена, грн с НДС | |
| без НДС | С НДС | |
| МЦ2С-63 | 13000 | 15600 |
| МЦ2С-80 | 15000 | 18000 |
| МЦ2С-100 | от 17500 | от 21000 |
| МЦ2С-125 | 28500 | 34200 |
Отправляйте запрос на почту или запрашивайте по телефону счет-фактуру, чтобы купить мотор-редуктор МЦ2С.
Особенности эксплуатации МЦ2С:
- режим работы S1 (ГОСТ 183-74);
- вращения вала в любую сторону;
- взрывобезопасная неагрессивная внешняя среда;
- концентрация пыли до 10 мг/м3;
- климатическое исполнение – У1, У2 (ГОСТ 151100-69);
- высота над уровнем моря – до 1000 м.
Расшифровка маркировки редуктора МЦ2С
Рекомендуемые типы масел
| Марки масел | Температура окружающего воздуха, °С |
| ТСп-10 | -40…0 |
| ИРП-150, ИСП-110, ТАП-15В | + 10…+25 |
| ИТП-200, ИТП-300, Цилиндровое 38, ПС-28 | +15…+50 |
Осевые зазоры подшипников
| Диаметр отверстия подшипника, мм | Пределы осевой игры, мкм | |
| Минимальный | Максимальный | |
| ≥30 | 20 | 80 |
| 30–50 | 40 | 110 |
| 50–80 | 60 | 140 |
Неисправности и их устранение
Перечень неисправностей мотор редукторов МЦ2С, с которыми можно столкнутся во время эксплуатации. Вероятные причины поломок и рекомендации по ремонту указаны в таблице.
| Неисправности | Вероятная причина | Рекомендации для устранения |
| При запуске не происходит вращение вала, но двигатель гудит | Нет напряжения на одной из фаз электродвигателя | Найти и устранить обрыв цепи |
| Течь масла по валу мотор-редуктора | Ослабление болтов или шпилек по плоскости разъёмов | Затянуть шпильки и болты |
| Произошел засор отверстия в заливной пробке или отдушине | Почистить отверстия, устранить засор | |
| Износ уплотнительной манжеты | Установить новую манжету |
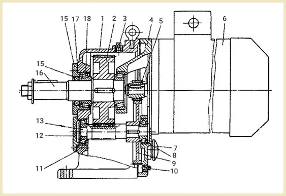
Устройство мотор-редуктора МЦ2С

Подробная конструкция с наименованием и правильным расположением деталей изображена на сборочном чертеже:
1. Корпус, 2. Зубчатое колесо, 3. Отверстие для залива масла, 4. Щит, 5. Ведущая шестерня, 6. Двигатель, 7. Контрольная пробка, 8. Конический роликоподшипник, 9. Зубчатое колесо, 10. Пробка, 11. Прокладка, 12. Крышка, 13. Вал-шестерня, 14. Выходной вал, 15. Манжета, 16. Крышка, 17. Прокладка. 18. Подшипник.









Виктория Владимировна