Редуктор РГЛ-180 – специальный редуктор лебедки лифта. Устанавливается в качестве привода лифтовых лебедок грузовых, пассажирских и больничных лифтов. Комплектуется многоскоростным электродвигателем фланцевого исполнения, передача вращения осуществляется через муфту МУВП. Производятся в соответствии с ТУ 12.44-633-85, глобоидные передачи изготавливаются, согласно ГОСТ 9369-77.
«Системы качества» известны в Украине своим подходом к надежности и контролю качества. Предлагаем купить редукторы РГЛ-180 с передаточными числами 28,5; 35; 45. Вал – конический, цилиндрический, любой вариант сборки.
Технические характеристики
Основные технические характеристики лифтовых червячных редукторов РГЛ-180, заявленные в паспорте, сведены в таблице. Диапазон передаточных чисел, предельный крутящий момент на выходе, нагрузка на тихоходном валу, мощность на входном валу, допустимая мгновенная перегрузка, вес и прочее. Характеристики редукторов других габаритов, можно найти в разделе каталог лифтовых редукторов.
| Лифтовой редуктор | Передаточное число | Мощность двигателя, кВт | Крутящий момент, Нм | Частота вращения входного вала, об/мин | Радиально консольная нагрузка, Н | Масса, кг |
| РГЛ-180 | 28,5 | 7,1 | 1300 | 1000 | 50000 | 450 |
| 35 | 9,0 | 1680 | ||||
| 45 | 7,0 | 2020 |
Особенности эксплуатации
- Допустима постоянная и плавающая нагрузка;
- Возможно реверсивное включение;
- Для продолжительных режимов и частых включений;
- Частота вращения на входе – до 1500 об/мин;
- Концентрация пыли до 10 мг/м³ (ГОСТ 15150-69).
Чертеж габаритных размеров РГЛ-180
Чертежи с габаритными и присоединительными размерами согласно технического паспорта приведены для простоты подбора и подготовки к монтажу.
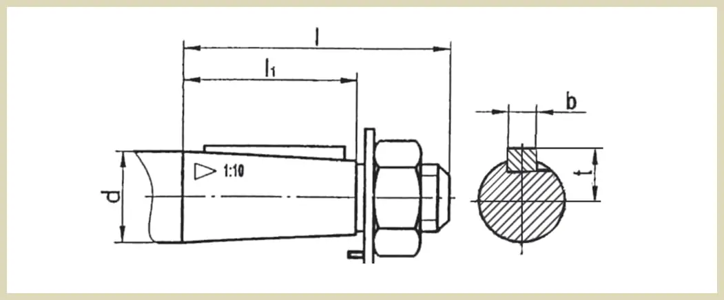
Размеры выходных валов

| Входной вал | Выходной вал | |||||||||
| Редуктор лифта | d | l | l1 | b | t | d | l | l1 | b | t |
| РГЛ-180 | 65 | 140 | 108 | 16 | 35 | 120 | 210 | 155 | 28 | 62 |
Варианты сборки
Наиболее востребованные варианты сборки 51, 52, 53 и 61. Схемы 62 и 63 изготавливаются под заказ.
Расшифровка маркировки
Условное обозначение содержит информацию о передаточном числе, варианте сборки, межосевом расстоянии и климатическом исполнении. Ниже приводим расшифровку маркировки.
Цена редуктора РГЛ-180
Цена редуктора РГЛ-180 варьируется в зависимости от новизны и качества. Новый редукторы РГЛ180, с рабочей гарантией можно купить по цене от 25000 грн. Цена редуктора бу – 18000 грн без НДС, но с ними осторожней. Плюс дефицитные компоновки и передатки могут увеличить стоимость до 30%. Для получения счета-фактуры или актуальных прайсов — звоните нам или отправляйте письменный запрос.
Редукторы РГЛ-180 с передаточными числами 45; 35; 28,5 заказывайте специалистам «Систем Качества»








Виктория Владимировна