Каталог
| Лебедки ЛМ | Лебедки ЛМЧ | Лебедки УЛ | Лебедки ТЛ |
Технические характеристики
Основными техническими характеристиками тросовых монтажных лебедок являются грузоподъемность, канатоемкость и скорость навивки каната. Для более детального просмотра технических параметров переходите к интересующей модели кликнув на маркировку строительной лебедки в таблице.
| Монтажная лебедка | Тяговое усилие, кгс | Скорость навивки каната на 1 слое, м/с | Канатоёмкость барабана, м | Диаметр каната, мм |
| ЛМ-0,25 | 250 | 0,24 | 80 | 4,8 |
| ЛМ-0,5 | 500 | 0,3 | 90 | 6,9 |
| ЛМ-1 | 1000 | 0,25 | 80 | 9,1 |
| ЛМ-2 | 2000 | 0,3 | 250 | 13,5 |
| ЛМ-3,2 | 3200 | 0,28 | 250 | 17,5 |
| ЛМ-5 | 5000 | 0,28 | 250 | 22,5 |
| ЛМ-6,3 | 6300 | 0,26 | 250 | 22,5 |
| ЛМ-8 | 8000 | 0,26 | 185 | 28 |
| ЛМ-10 | 10000 | 0,12 | 350 | 28 |
| ЛМЧ-0,25 | 250 | 0,2 | 80 | 4,5 |
| ЛМЧ-0,4 | 400 | 0,2 | 90 | 5,6 |
| ЛМЧ-0,5 | 500 | 0,25 | 80 | 6,9 |
| ЛМЧ-1 | 1000 | 0,3 | 100 | 11 |
Требования к эксплуатации
Данная электролебедка работает от напряжения 380 В и рассчитана на эксплуатацию при таких условиях:
- Температура окружающей среды – от – 40°С до + 40°С.
- Частота тока – 50 Гц.
- Среда эксплуатации – взрывобезопасная неагрессивная
- Концентрация пыли – до 10 мг/м3;
- Рабочее положение – крепление на горизонтальной плоскости;
- Влажность – не более 85%;
- Режим работы – легкий (ПВ=25%).
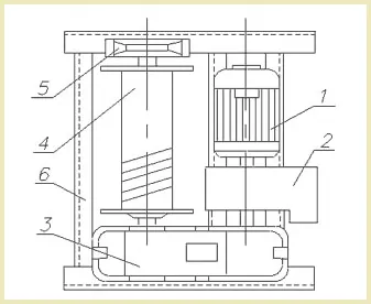
Устройство
Электрическая монтажная лебедка состоит из сварной рамы, на которой установлен редуктор с канатным барабаном, электродвигателя и тормозной системы. Дополнительно может быть установлен щит управления, обеспечивающий бесперебойную работы и управление трехфазным асинхронным электродвигателем. В тормозную систему входит колодочный тормоз ТКГ с электрогидравлическим толкателем и тормозной шкив выполняющий роль муфты соединения двигателя и механического редуктора.

- Асинхронный электродвигатель;
- Тормозная система;
- Механический редуктор;
- Барабан для намотки троса;
- Подшипниковая опора;
- Сварная рама.
Установка и крепление
Перед началом монтажа строительной лебедки, выбираем наиболее рентабельное место установки согласно ниже представленным критериям:
- установка вне зоны выполнения работ по перемещению и подъему груза;
- отсутствие факторов преграждающих обзору зоны работы и наблюдению за грузом;
- исключить возможность пересечения канатом дорог и мест проходов людей.
Наиболее популярным способ установки монтажной лебедки – крепление к бетонному фундаменту. На этапе заливки бетона устанавливаются анкерные болты, монтаж лебедки выполняется с помощью крепления рамы к болтам. При невозможности заливки фундамента, строительную лебедку можно установить на бетонные сваи или задействовать якоря.
Ремонт и неисправности
Во избежания поломок и неисправностей, грузовые монтажно-строительные лебедки должны проходить периодическое техническое обслуживание. При выходе электрической монтажной лебедки из строя – обращайтесь за запчастями и ремонтом к специалистам Систем Качества.
В таблице представлен основной перечень неисправностей с которым можете столкнуться при эксплуатации монтажной лебедки.
| Неисправность | Возможная причина | Способ устранения |
| Плохое торможение | Увеличился зазор | Отрегулировать зазор |
| Загрязнение тормоза | Очистить поверхность торможения | |
| Излом пружина | Заменить | |
| Износились тормозные колодки | Установить новые | |
| Повышенный шум тормозной системы | Износ муфты | Провести ревизию либо замену |
| Недостаток масла в толкателе | Долить до нормы | |
| Греются подшипники | Дефицит смазки в подшипниках | Смазать |
| Подшипник повреждён или изношен | Поменять подшипник | |
| Вибрация лебедки | Ослабло крепление к фундаменту | Затянуть болты |
| Перегрев электродвигателя | Груз не соответствует тяговому усилию | Эксплуатировать согласно паспортной грузоподъемности |
| Сбои в электросети или короткое замыкание | Измерить напряжение сети, проверить сопротивление обмотки электрической части | |
| Маленький зазор тормозных накладок | Отрегулировать зазор | |
| Электромотор не запускается | Низкое напряжение | Добиться нужного напряжения в сети |
| Обрыв цепи | Прозвонить и восстановить электрическую цепь | |
| Перегорела обмотка двигателя | Перемотать или заменить | |
| Повышенный шум редуктора | Износ механической передачи | Заменить изношенные шестерни |
| Скол зубьев шестерни | Заменить шестерню | |
| Износ подшипника | Установить новый |
Где купить монтажную лебедку в Украине?
У Систем Качества вы можете купить электрические монтажные лебедки тяговые на 1т, 2т, 3т, 4т, 5 тоны или с большей грузоподъемностью. Производим лебедки для строительных, металлургических, шахтных и других монтажных работ. Все оборудование и механизмы соответствуют ГОСТ, проходят испытания и проверку ОТК.
Цена
Цена монтажной лебедки зависит от стоимости и количества оборудования входящего в конструкцию механизма. Строительно монтажные лебедки могут комплектоваться запчастями производства Украины, Китая и Белоруссии, адаптируя стоимость под бюджет заказчика.






Виктория Владимировна