Технические характеристики
В таблице указаны технические характеристики лебедки ЛМ-0.25 согласно технического паспорта производителя: тяговое усилие, скорость навивки каната на барабан, масса, канатоемкость и диаметр каната, марка редуктора и двигателя, габариты.
| Монтажная лебедка | Технические характеристики | ||||||||
| Тяговое усилие, кгс | Скорость навивки на 1 слое, м/с | Канатоёмкость, м | Диаметр каната, мм | Редуктор | Электродвигатель | Тормоз | Габариты | Вес, кг | |
| ЛМ-0,25 | 250 | 0,24 | 80 | 4.8 | Ц2У-100 | АИР 80 В4 | ТКГ-160 | 570х600х360 | 73 |
Требования к эксплуатации
Лебедка ЛМ-0,25 рассчитана на эксплуатацию в таких условиях:
- Температура окружающей среды – от – 40°С до + 40°С;
- Напряжение питания – 380/660 В;
- Частота тока – 50 Гц;
- Концентрация пыли – до 10 мг/м3;
- Рабочее положение – крепление на горизонтальной плоскости;
- Влажность – не более 85%;
- Режим работы – легкий.
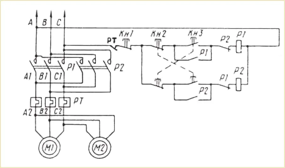
Устройство
Монтажная электрическая лебедка ЛМ-0,25 состоит из сварной рамы, на которой установлен редуктор с канатным барабаном, электродвигателя и тормозной системы. Дополнительно может быть установлен щит управления, обеспечивающий бесперебойную работы и управление трехфазным асинхронным электродвигателем. В тормозную систему входит колодочный тормоз ТКГ с электрогидравлическим толкателем и тормозной шкив выполняющий роль муфты соединения двигателя и механического редуктора.
Барабанный узел представляет собой двухребордный цилиндр, устанавливается на тихоходный вал редуктора с одной стороны и на подшипниковую опору с другой, выполняет роль катушки для многослойной навивки стального каната (троса).
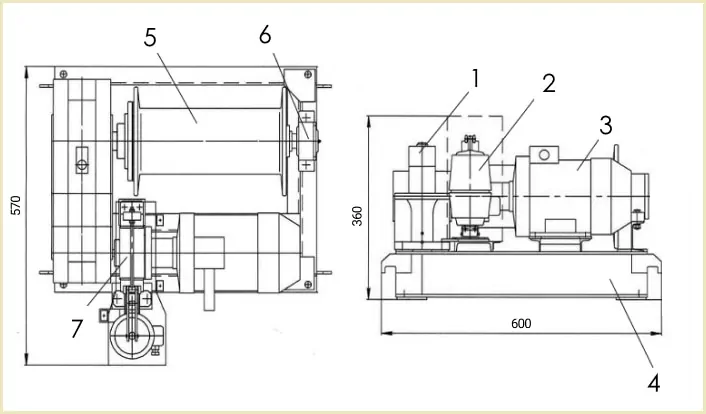
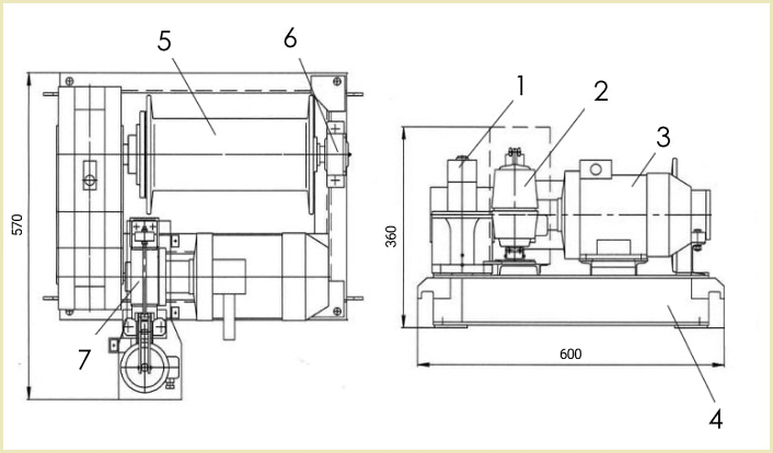
На чертеже изображенный габаритные размеры и основные элементы конструкции лебедки ЛМ-0.25:
- Цилиндрический двухступенчатый редуктор 1Ц2У-100;
- Колодочный тормоз ТКГ-160;
- Двигатель АИР80В4 1,5 кВт 1500 об/мин;
- Сварная рама;
- Барабан для намотки троса;
- Подшипниковая опора;
- Муфта втулочно-пальцевая с тормозным шкивом.
Где купить монтажную электрическую лебедку ЛМ-0.25 в Украине?
У Систем Качества вы можете купить лебедку ЛМ-0,25 в стандартной комплектации или согласно вашему техническому заданию. Монтажная лебедка ЛМ0,25 может поставляться в общепромышленном или взрывозащищенном исполнении. В дополнительную комплектацию входят: частотные преобразователи, радиоуправление или выносной пульт управления, канатоукладчик (тросоукладчик), звуковая сигнализация. Перед отгрузкой все оборудование проходит испытание и проверку ОТК.
В стандартную комплектацию поставки входит: лебедка ЛМ-0.25 без каната, паспорта совмещенные с руководством (инструкцией) по эксплуатации лебедки, электродвигателя, редуктора, колодочного тормоза.
Цена
Цена лебедки ЛМ-0.25 зависит от типа исполнения, комплектации, производителя основных узлов. Лебедки могут комплектоваться запчастями производства Украины, Китая и Белоруссии, адаптируя стоимость под бюджет заказчика. Для просчета цены электрической монтажной лебедки ЛМ-0,25 – свяжитесь с менеджером по телефону или пришлите техническое задание на электронную почту.








Виктория Владимировна