Технические характеристики
В таблице указаны технические характеристики лебедок ЛМ-2 и ЛМ-2А согласно технического паспорта производителя: тяговое усилие, скорость навивки каната на барабан, масса, канатоемкость и диаметр каната, марка редуктора и двигателя, габариты.
| Монтажная лебедка | Технические характеристики | ||||||||
| Тяговое усилие, кгс | Скорость навивки на 1 слое, м/с | Канатоёмкость, м | Диаметр каната, мм | Редуктор | Мощность, кВт | Тормоз | Габариты | Вес, кг | |
| ЛМ-2 | 2000 | 0,3 | 250 | 13,5 | Ц2У-200 | 7,5 | ТКГ-200 | 1170х1105х700 | 585 |
| ЛМ-2А | 2000 | 0,14 | 400 | 13,5 | Ц2У-250 | 11 | ТКГ-200 | 1180х1175х720 | 700 |
Требования к эксплуатации
Лебедка ЛМ2 рассчитана на эксплуатацию в таких условиях:
- Температура окружающей среды – от – 40°С до + 40°С;
- Напряжение питания – 380/660 В;
- Частота тока – 50 Гц;
- Концентрация пыли – до 10 мг/м3;
- Рабочее положение – крепление на горизонтальной плоскости;
- Влажность – не более 85%;
- Режим работы – легкий.
Устройство
Монтажная электрическая лебедка ЛМ-2 состоит из сварной рамы, на которой установлен редуктор с канатным барабаном, электродвигателя и тормозной системы. Дополнительно может быть установлен щит управления, обеспечивающий бесперебойную работы и управление трехфазным асинхронным электродвигателем. В тормозную систему входит колодочный тормоз ТКГ с электрогидравлическим толкателем и тормозной шкив выполняющий роль муфты соединения двигателя и механического редуктора.
Барабанный узел представляет собой двухребордный цилиндр, устанавливается на тихоходный вал редуктора с одной стороны и на подшипниковую опору с другой, выполняет роль катушки для многослойной навивки стального каната (троса).
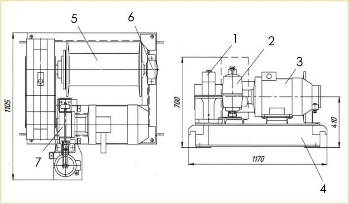
На чертеже изображенный габаритные размеры и основные элементы конструкции лебедки ЛМ-2:
- Цилиндрический двухступенчатый редуктор 1Ц2У-200;
- Электрогидравлический колодочный тормоз ТКГ-200;
- Двигатель 7,5 кВт;
- Сварная рама;
- Барабан для намотки троса;
- Подшипниковая опора;
- Муфта втулочно-пальцевая с тормозным шкивом.
Где купить монтажную электрическую лебедку ЛМ-2 в Украине?
У Систем Качества вы можете купить лебедку ЛМ-2 и ЛМ-2А в стандартной комплектации или согласно вашему техническому заданию. Монтажная лебедка ЛМ2 может поставляться в общепромышленном или взрывозащищенном исполнении. В дополнительную комплектацию входят: частотные преобразователи, радиоуправление или выносной пульт управления, канатоукладчик (тросоукладчик), звуковая сигнализация. Перед отгрузкой все оборудование проходит испытание и проверку ОТК.
В стандартную комплектацию поставки входит: лебедка ЛМ-2 без каната, паспорта совмещенные с руководством (инструкцией) по эксплуатации лебедки, электродвигателя, редуктора, колодочного тормоза.
Цена
Цена лебедки ЛМ-2 зависит от типа исполнения, комплектации, производителя основных узлов. Лебедки могут комплектоваться запчастями производства Украины, Китая и Белоруссии, адаптируя стоимость под бюджет заказчика. Для просчета цены электрической монтажной лебедки ЛМ-2 – свяжитесь с менеджером по телефону или пришлите техническое задание на электронную почту.








Виктория Владимировна