Каталог
Основными техническими характеристиками электрических крановых лебедок являются тяговое усилие и скорость навивки каната. Для более детального просмотра технических параметров переходите к интересующей модели кликнув на маркировку лебедки для крана в таблице.
| Крановая лебедка | Технические характеристики | |||||
| Тяговое усилие, кгс | Мощность электродвигателя, кВт | Скорость навивки каната на 1 слое, м/с | Канатоёмкость барабана, м | Вес, кг | Габаритные размеры, мм | |
| Л-600.4А | 5000 | 30 | 0,76 | 150 | 2100 | 2250×1500×750 |
| Л-600.6Б | 5000 | 15 | 0,47 | 73 | 1800 | 2020×1500×750 |
| КБ-408.81А | 5800/1400 | 55 | 1/1,5 | 160 | 3100 | 2800×1700×850 |
| КБ-408.81Б | 5800/1400 | 55 | 1/1,5 | 150 | 3200 | 2815×1670×815 |
| КБ-572.29А | 5800 | 30 | 0,64 | 70 | 2100 | 2250×1500×750 |
Устройство
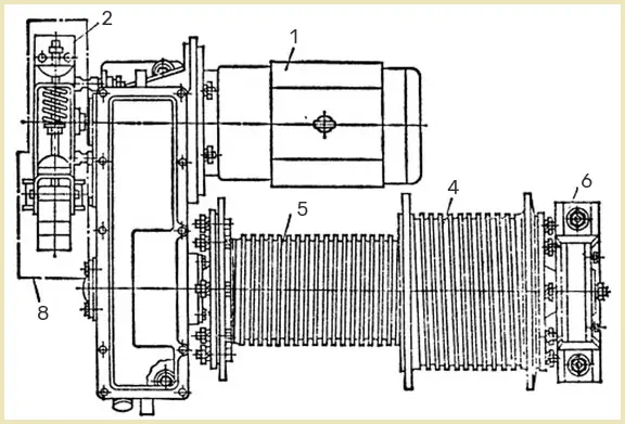
Устройство крановой лебедки зависит от ее назначения и типа установки, где она применяется. В качестве привода могут использоваться электродвигатели или гидромоторы. Подробную конструкцию лебедки для крана рассмотрим на примере лебедки Л-450:
- Электродвигатель MTF 211-6;
- Тормоз колодочный ТКГ-200/ТКТ-200/ТКП-200;
- Двухступенчатый цилиндрический редуктор;
- Секция барабана для стрелового каната;
- Секция барабана для грузового каната;
- Выносная опора;
- Зубчатая муфта;
- Защитный кожух тормоза.
Где купить крановую лебедку в Украине?
У Систем Качества вы можете купить крановые лебедки с электрическим или гидравлическим приводом для мостовых, козловых, портальных, башенных, стреловых кранов и других крановых установок. Все электрооборудование и механизмы соответствуют ГОСТ, проходят испытания и проверку ОТК. Выполним ремонт или поставим крановое оборудование лебедки:
- Надежные общепромышленные электродвигатели АИР;
- Крановые двигатели МТН, MTF МТКН, 4МТ;
- Цилиндрические, червячные и специальные крановые редукторы;
- Колеса двухребордные К2Р и одноребордных К1Р;
- Колодочные тормоза ТКГ, ТКТ, ТКП, тормозные шкивы и муфты МУВПТ;
- Муфты МЗ и МЗП;
- Изготовим промежуточные и трансмиссионные валы, валы к крановым колесам;
- Грузовые барабаны БК, токоприемники, токосъемники, командоконтролеры ККТ;
- Изготовим тележки для башенных, козловых и мостовых кранов;
Цена
Цена крановой лебедки зависит от стоимости и количества оборудования входящего в конструкцию механизма. Лебедки могут комплектоваться запчастями производства Украины, Китая и Белоруссии, адаптируя стоимость под бюджет заказчика. Для просчета цены лебедки для крана – свяжитесь с менеджером по телефону или пришлите запрос на электронную почту.







Виктория Владимировна